焊枪手柄采用绝缘材质,方便拿取,更安全。
在我们现在生活中,塑料制成的产品随处可见,当这些产品损坏了的时候我们该怎么做?随着这样问题的出现,塑料焊枪开始进入人们的视野。随着塑料焊枪的出现,我们的塑料产品拥有更长的寿命,也可以多次利用,在生活中节约了资源。同时塑料焊枪还是塑料产品制作时不可缺少的理想工具。塑料焊枪体积小、功率大、耐用长寿;加热管防汤外壳;加热管电子保护系统;温度控制精确,轻便易携带;适合连续操作;一体化设计,自带风机,现场施
更多
端子台的应用将越来越广泛
端子台,也称为接线端子,端子等,主要起电气连接的作用,随着社会科技的发展,端子台的应用将越来越广泛,如凡是有PCB印刷电路板的地方等,都会用到这种类型的端子台。 威德米勒作为专业的端子台厂家,产品广泛应用于工业控制、家用电器、电力自动化、数控设备、机械设备、工控设备、变频器设备、开关电源设备、音响设备、PLC设备、程控交换机、太阳能设备、中央空调设备、仪器仪表设备、注塑机电脑设备等领域, 其具体分
更多
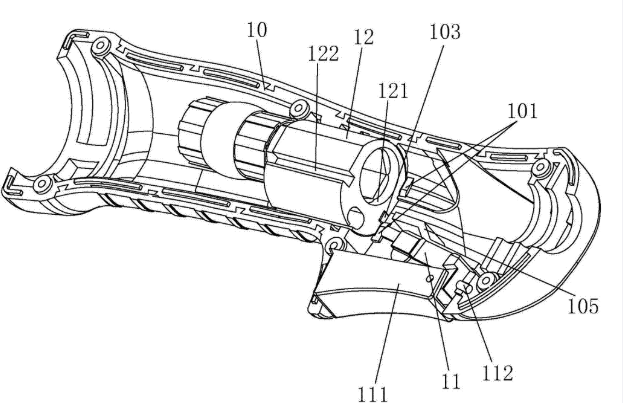
焊枪手柄的制作方法!
焊枪手柄的制作背景: 目前,焊枪是指焊接过程中,执行焊接操作的部分,它使用灵活,方便快捷,工艺简单。焊枪利用焊机的高电流,高电压产生的热量聚集在焊枪终端,融化焊丝,融化的焊丝渗透到需焊接的部位,冷却后,被焊接的物体牢固的连接成一体。焊枪包括手柄、设置在手柄上的焊枪头,现有的焊枪的手柄结构设计不合理,从而导致枪头与手柄装配不便捷,枪头与手柄连接不紧凑,大大影响了焊枪工作的可靠性。 焊枪手
更多
电动机风叶的工作原理、品种、形状
风叶的品种有:电动机风叶,圆锥形风叶,塑料风叶,铸铝风叶。风帽使进入流化床的空气产生 第二次分流并具有一定的动能,以减少初始气泡的生成并使床料底部粗颗粒产生强烈扰动、 避免粗颗粒沉积、 电动机风叶的工作原理,分为两步 首先是电机驱动扇叶转动,靠近转轴的空气流速慢/气压高,靠近扇叶边缘的地方空气流速快/气压低,以此形成风压差,空气由轴心向扇叶边缘流动; 其次,当空气沿着
更多
汽车塑料配件加工的发展现状!
随着汽车轻量化的趋势,汽车塑料配件的使用越来越多。发达国将汽车用塑料量作为衡量汽车设计和制造水平高低的一个重要标志,德国汽车用塑料占整体材料的15%。近年来我国汽车产业发展迅速,目前汽车年产量超过400万辆,参照国外的趋势,汽车行业年用改性塑料将在50万吨以上。随着时代科技的高速发展、新材料和新工艺的不断进步,时下人们对汽车的质量要求提出一系列更高的要求,主要表现在舒适性、安全性、环保性和美观性等
更多
我司生产的电焊机输出端子台安装方便、匠心打造、精湛工艺
高碑店市欧亚塑料电器有限公司生产的电焊机输出端子台:紫铜原料:紫铜材质导电性强,选用紫铜材质作为原材料具有较强的耐磨性、导电率高、发热低更安全。高碑店市欧亚塑料电器有限公司生产的电焊机输出端子台安装方便、匠心打造、精湛工艺、现货供应。
更多
电焊机输出端子台有哪些形式
电焊机输出端子台一共有三种形式:20pin、24pin 和20+4pin。 20pin:一共有20 个针脚,故称20pin。每一个阵脚代表不同的电压值或者信号,针脚的定义是固定的,定义标准是由INTEL 公司制定的。20pin 端子是插在主板上的。在 P4 处理器流行之前,普通家用电脑的主板的连接器设计方式都是采用20pin。 24pin:一共有24 个针脚,比20pin 端子多出4
更多
输入端子台的制作方法
通过在电路板设计上和接线功能上的改进,在具有与现有产品相同尺寸的前提下,还增加了信号指示灯功能以及负载信号的线路和电源端子,使负载的电源线可以直接接到本端子台,不需要引到其他端子,因此降低了成本,减少了电柜空间,而且当负载有故障的时候可以很方便的找到对应的负载的所有线,减少排查故障的时间和困难度。 具体实施方式 为了使本实用新型所解决的技术问题、技术方案及有益效果更加清楚明白,以下结合
更多
纺织机械是纺织工业的生产手段和物质基础
纺织机械塑料配件就是把天然纤维或化学纤维加工成为纺织品所需要的各种机械设备。生产化学纤维的机械虽然包括多种化工机械,现被认为是纺织机械的延伸,属广义的纺织机械。把棉、麻、丝、毛等不同的纤维加工成纺织品所需要的工序不尽相同,有的完全不同,所以需要的机器也各式各样,种类繁多。纺织机械通常按生产过程分类,计有:纺纱设备、织造设备、印染设备、整理设备、化学纤维抽丝设备、缫丝设备和无纺织布设备。纺纱设备又分
更多
电焊机配件的多种分类
电焊机是利用正负两极在瞬间短路时产生的高温电弧来熔化电焊条上的焊料和被焊材料,来达到使它们结合的目的。今天小编给大家介绍一下电焊机绝缘配件的分类及应用: 1、工矿企业主要用的焊机有:交流弧焊机、直流电焊机、交流焊机和直流焊机应用领域的区别主要是交流焊机一般都用在钢结构制造单位或一般通用机械或农业机械制造单位。直流主要用在制造压力容器锅炉,管道,或重要结构制。 2、直流焊机有二种:一种是
更多
塑料电器配件为什么会褪色
塑料电器配件受多种因素影响会发生褪色。塑料电器配件的褪色与色粉的耐光性、抗氧性、耐热性、耐酸碱性以及所用树脂的特性有关。 下面是对塑料电器配件发生褪色因素的详细分析: 1.着色剂的耐光性 着色剂的耐光性直接影响制品的褪色,受强光照射的室外制品,所用着色剂的耐光(耐晒)等级要求是一个重要指标,耐光等级差,制品在使用中会很快褪色。耐候制品选用的耐光等级应不低于六级,选用七、八级,室内
更多
汽车塑料配件应用及焊接
汽车塑料配件应用及焊接: 现代汽车上100kg的塑料材料取代了原先需200~300kg的传统金属材料, 减重效果十分突出,这对于节约能源,降低温室气体排放具有重要意义。据统计,汽车用塑料品种目前已达几十种, 平均每辆汽车塑料用量已占汽车自重的5%~10%,随着汽车轻量化的发展要求和汽车塑料技术的扩大应用,汽车塑料的单车用量今后还将会进一步增加。这也符合当代低碳经济的趋势! 在现代车辆上
更多
国内塑料制品市场需求预测
国内塑料制品市场未来需求主要集中在塑料电器配件、农用塑料制品、包装塑料制品、建筑塑料制品、工业交通及工程塑料制品等几个方面。 根据农业部的统计,我国园艺设施栽培所用地膜,加上氨化膜、青贮膜和缠绕膜的饲草用膜、塑料育苗容器、遮阳网、捕捞网具、泡沫塑料板材等,每年约需塑料制品300万吨。 此外,农用塑料节水器材的需求量也很大,每年需要各种塑料节水器如各类管材与管件、灌水器、喷头、防渗用薄膜
更多
请问激光焊接和点焊的区别是什么?
电阻点焊是目前车身制造过程中应用广泛的制造工艺之一,它具有操作简单、 焊接质量好、生产率高、生产成本低等特点,容易实现机械化和自动化。点焊时,首先通过电极对工件施加压力,工件在有限的表面上接触,即所谓的“点” 上被连接起来,工件稳定接触后产生电阻,焊接电流通过工件和接触表面后产生热量熔化并形成扁球形的熔核。 电阻点焊需要控制的焊接参数有焊接电流、焊接时间、电极压力 3 个要素,3 个要素互相
更多
电焊机前罩的生产工艺是什么呢?
电焊机前罩(防护罩或面罩)的生产工艺涉及材料选择、成型加工、功能部件装配等多个环节,需兼顾防护性、耐用性和用户体验。1. 材料准备基材选择:外壳材料:常用ABS工程塑料(抗冲击、耐高温)、聚碳酸酯(PC,透明部分)、玻璃纤维增强尼龙(高强度环境)等。防护镜片:防紫外线/红外线的深色滤光片(如自动变光镜片),需符合EN379或ANSI Z87.1标准。缓冲层:海绵或软质橡胶(贴合面部,提高舒适性)。
更多















