焊枪手柄的制作背景:
目前,焊枪是指焊接过程中,执行焊接操作的部分,它使用灵活,方便快捷,工艺简单。焊枪利用焊机的高电流,高电压产生的热量聚集在焊枪终端,融化焊丝,融化的焊丝渗透到需焊接的部位,冷却后,被焊接的物体牢固的连接成一体。焊枪包括手柄、设置在手柄上的焊枪头,现有的焊枪的手柄结构设计不合理,从而导致枪头与手柄装配不便捷,枪头与手柄连接不紧凑,大大影响了焊枪工作的可靠性。
焊枪手柄的特征:
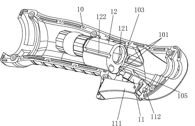
1.一种焊枪手柄,包括壳体、设置在壳体内的按钮开关,其特征在于:所述的壳体内设置有用于固定焊枪头的固定块,所述的壳体的内壁上对应固定块的两端处分别设置有1限位块和2限位块,1限位块与2限位块之间形成有用于夹紧固定块的夹持腔,固定块设置在夹持腔内,所述的固定块上设置有用于与焊枪头连接的固定孔,所述的固定块的上端面、下端面上分别设置一个卡接槽,所述的壳体的内壁上对应卡接槽处设置相配合的卡接块,卡接块卡装在卡接槽内且构成壳体与固定块的卡接配合,所述的壳体内对应按钮孔处设置有一个限位板,所述的按钮开关设置在限位板上,按钮开关上的按钮片设置在按钮孔内且露在壳体外。
2.根据权利要求1所述的焊枪手柄,其特征在于:所述的壳体上对应按钮片的一侧处具有一个握持部,壳体上对应握持部与按钮片之间处具有一个弧形隔档部,握持部的外壁上包裹有橡胶套,橡胶套上分布有若干个防滑槽。
3.根据权利要求1所述的焊枪手柄,其特征在于:所述的按钮开关的一端上设置有一个卡接部,所述的壳体的内壁上对应卡接部处设置有相配合的卡槽,所述的卡接部卡装在卡槽内且构成按钮开关与壳体的卡接配合。

本实用新型涉及一种焊枪手柄,包括壳体、设置在壳体内的按钮开关,壳体内设置有用于固定焊枪头的固定块,壳体的内壁上对应固定块的两端处分别设置有1限位块和2限位块,1限位块与2限位块之间形成有用于夹紧固定块的夹持腔,固定块设置在夹持腔内,所述的固定块上设置有用于与焊枪头连接的固定孔,固定块的上端面、下端面上分别设置一个卡接槽,壳体的内壁上对应卡接槽处设置相配合的卡接块,卡接块卡装在卡接槽内且构成壳体与固定块的卡接配合,所述的壳体内对应按钮孔处设置有一个限位板,按钮开关设置在限位板上,按钮开关上的按钮片设置在按钮孔内且露在壳体外。本实用新型具有结构简单、性能稳定可靠、装配便捷的优点。
